
Apple’dan Giyilebilir Teknolojide Yenilik: Akıllı Yüzük Patenti ile Tanışın
Apple, giyilebilir teknolojilerde devrim yaratacak yeni ürünü olan akıllı yüzük konseptiyle teknoloji gündeminde öne çıkıyor. Son patent başvuruları, Apple’ın akıllı yüzük projesinde hızlandığını ve çok yönlü kontrol mekanizmaları sunacağını gösteriyor. Şirketin bu yeni cihazı, kullanıcıların hem iPhone hem de akıllı ev cihazlarını parmaklarından yönetmelerine imkan tanıyacak.

Akıllı Yüzükte Öne Çıkan Patent Detayları
Gün yüzüne çıkan “Ring Device” adlı ilk patent, Apple yüzüğünün NFC teknolojisi ile biyometrik veri aktarımı ve doğrulama sunduğunu ortaya koyuyor. Aynı zamanda sağlık takibi için geliştirilmiş sensörler sayesinde kullanıcıların aktivitelerini ve sağlık verilerini anlık olarak izleyebilecekleri bir sistem hedefleniyor.

Dahili Sensörlerle Hassas Kontrol
Apple Akıllı Yüzük, içindeki hareket ve yön sensörleri sayesinde, parmak hareketlerini algılayarak Apple ekosistemindeki diğer cihazlarla entegre biçimde çalışabilecek. Bu sayede el hareketleriyle evdeki ışıklar, medya oynatıcılar, kapılar veya diğer akıllı cihazlar kontrol edilebilecek.

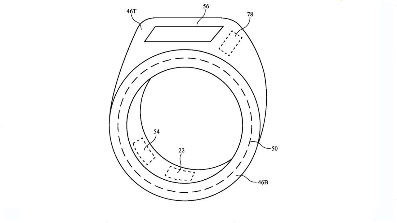
Yüzük Tasarımında Yenilikçi Özellikler
Bir diğer dikkat çeken patent ise “değişken dönme direncine sahip yüzük” tasarımı. Tasarıma göre yüzüğün iç halkası parmağınızı sabit tutarken, dış halka döndürülebiliyor. Bu teknolojiyle:
| Kullanım Özelliği | Fonksiyon |
|---|---|
| Dönen Halka | Liste kaydırma; cihaz kontrolü |
| NFC Desteği | Biyometrik kimlik doğrulama & veri paylaşımı |
| Hareket Sensörü | El hareketleriyle cihaz kontrolü |
| Sağlık Takibi | Aktivite ve vücut izleme |
Apple Akıllı Yüzüğün iPhone ve Apple Watch ile Entegre Kullanımı
Apple Ring, hem iPhone hem de Apple Watch ile entegre olarak çalışacak şekilde tasarlanıyor. Kullanıcılar bildirimlerini parmaklarındaki yüzükle takip edebilecek, gelen çağrıları ya da mesajları titreşimli uyarılarla alabilecekler. Ayrıca, mikrofon özelliği sayesinde sesli komutlar da verilebilecek.
Apple Akıllı Yüzüğün Yenilikçi Faydaları
Apple’ın patentlediği bu akıllı yüzük, hem güvenlik, hem pratiklik, hem de kişiselleştirilebilir cihaz kontrolü gibi avantajlar sunuyor:
- Gizlilik ve güvenlik: Biyometrik doğrulama ile kişiye özel erişim.
- Akıllı ev entegrasyonu: Işıklardan termostatlara, medya cihazlarından kapılara kadar geniş kontrol.
- Kullanıcı dostu arayüz ve kolay fonksiyon yönetimi için döndürülebilen halka mekanizması.
- Sağlık ve yaşam takibini parmak ucunda teknolojik çözümlerle sunma.
Sonuç: Apple Akıllı Yüzük ile Geleceğin Kontrolü Parmaklarınızda!
Apple Akıllı Yüzük, dijital cihaz kontrollünü ve kişisel sağlık takibini, yenilikçi bir aksesuar ile kullanıcıların hayatına entegre ediyor. Patente göre yakın zamanda iPhone, Apple Watch ve diğer Apple ürünleriyle tam uyumlu, pratik ve akıllı bir yüzük ile tanışmak mümkün olacak. Teknoloji severler için Apple Ring ile akıllı yaşam artık bir adım daha yakın!