
Apple’dan Taşınabilir Bilgisayarlarda Devrim: Klavye Tuşu Artık Fare Oluyor
Apple, dizüstü bilgisayar teknolojisine yönelik geliştirdiği çığır açan yeniliklerle sektördeki lider konumunu pekiştirmeye devam ediyor. Şirket, yeni aldığı bir patent ile kullanıcıların hem klavye hem de fare ihtiyacına benzersiz bir çözüm sunmaya hazırlanıyor. Bu yeni sistemle birlikte, MacBook klavyesindeki bir tuş yerinden çıkartılarak bağımsız bir fare olarak kullanılabilecek. Böylece taşınabilirlik ve fonksiyonellik bir araya geliyor.

“Deployable Key Mouse”: Klavye ve Farenin Mükemmel Buluşması
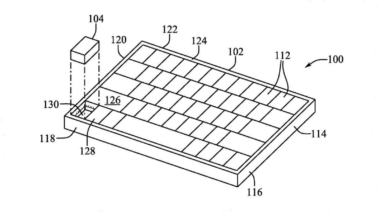
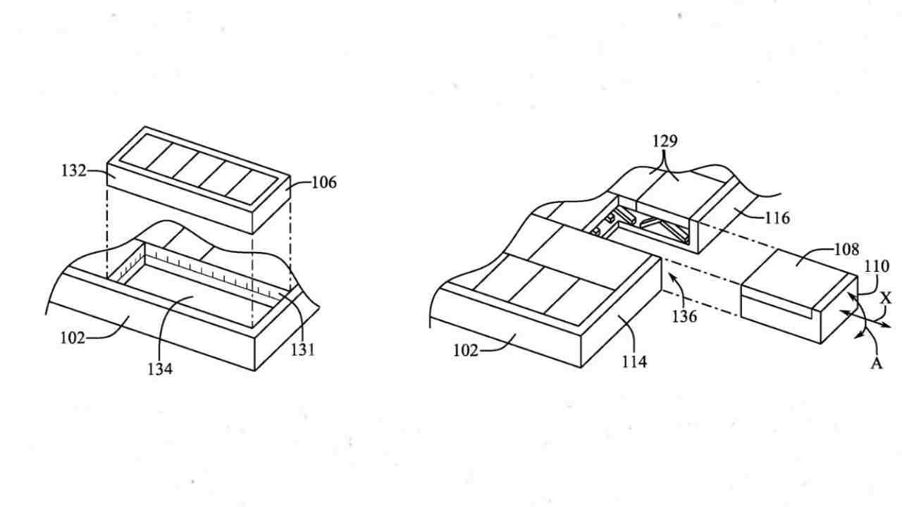
Apple’ın “Deployable Key Mouse” (Çıkarılabilir Tuş Fare) adını verdiği bu sistem, dizüstü klavye tasarımlarına taptaze bir yön veriyor. Patent detaylarına göre klavyedeki sıradan görünümlü bir tuş, özel mekanizması sayesinde kolayca çıkarılarak mini bir fareye dönüşüyor. Üstelik, bu küçük cihaz üzerinde yer alan konum algılayıcılar sayesinde, masa üzerinde hareket ettirildiğinde tıpkı geleneksel farelerde olduğu gibi imleç kontrolü sağlanabiliyor.

Öne Çıkan Teknik Detaylar
Apple’ın bu yenilikçi çözümüyle birlikte, dizüstü bilgisayarlardan ayrı bir fare taşımak gereksiz hale geliyor. Patent bilgilerinde öne çıkan teknik detaylar şöyle:
| Özellik | Açıklama |
|---|---|
| Çıkarılabilirlik | Klavyedeki ilgili tuş kolaylıkla çıkarılabilir ve fare görevi görebilir. |
| Boyut | Geleneksel farelere göre oldukça küçük ve kompakt tasarlanmıştır. |
| Pil ve Elektronik Aksam | Bağımsız çalışabilecek dahili pil ve devreye sahiptir. |
| Tutma Mekanizması | Kullanıcı kullanmadığında yerine takarak normal tuş olarak kullanmaya devam edebilir. |
| Fonksiyonellik | İhtiyaç halinde trackpad’e ek olarak hassas imleç kontrolü sağlar. |
Kullanıcı Deneyiminde Yeni Dönem
Apple’ın çıkarılabilir tuş fare sistemi, özellikle dizüstü bilgisayarını sık sık yanında taşıyan ve ek bir aksesuar yükü istemeyen kullanıcılara hitap ediyor. Bu sayede seyahatlerde, toplantılarda ve hareket halinde çalışan profesyoneller için oldukça pratik ve inovatif bir alternatif ortaya çıkıyor.
Yenilikçi tasarımın, taşınabilirlik ile fonksiyonelliği birleştirerek kullanıcıların deneyimlerini nasıl daha da geliştireceği merak konusu. Ancak, bu mini farenin ergonomisi ve kullanışlılığı konusunda bazı soru işaretleri bulunuyor. Özellikle cihazın küçük olması, uzun süreli kullanımlarda rahatlık sunup sunmayacağı konusunda tartışmalara açık.
Apple’ın Yenilikçi Patenti: Avantajlar ve Olası Sorunlar
Apple’ın yeni nesil çıkarılabilir fare tuşu, kullanıcılar için pek çok avantajı beraberinde getirebilir:
- Ek bir fare taşımaya gerek kalmaz.
- Taşınabilir cihazlarda alan, ağırlık ve aksesuar yönetimi kolaylaşır.
- Hem klavye tuşu hem de fare olarak çift fonksiyonludur.
- Apple’ın imzası olan yenilikçi ürün anlayışını yansıtır.
Bununla birlikte, cihazın küçük boyutu ve ergonomik açıdan nasıl performans göstereceği konusunda bazı belirsizlikler bulunuyor. Resmî tanıtım gerçekleşmeden, kullanıcı deneyimi ve ürünün pratikteki başarısı hakkında kesin bir yargıya varmak güç.
Geleceğin Dizüstü Bilgisayarları Nasıl Şekillenecek?
Apple’ın bu çıkarılabilir fare tuşu yeniliği, dizüstü bilgisayar teknolojisinin geleceğine de ışık tutuyor. Eğer seri üretime geçerse, sektördeki diğer teknoloji devlerinin de benzer yaratıcı çözümler geliştirmesine öncülük edebilir. Hem fonksiyonellik hem de estetik açıdan kullanıcıların beklentilerini karşılamak amacıyla tasarlanan bu patent, taşınabilir teknoloji ve aksesuar birleşiminin ne kadar ileriye gidebileceğini gösteriyor.